ABB 的空气控制单元(ACU)是专为其喷涂机器人打造的高性能气流控制部件,像 ACU - 01B 等主流型号,凭借精准调节、灵活集成等优势,成为保障喷涂质量与效率的核心辅助单元,以下是其核心信息的详细介绍:
核心功能
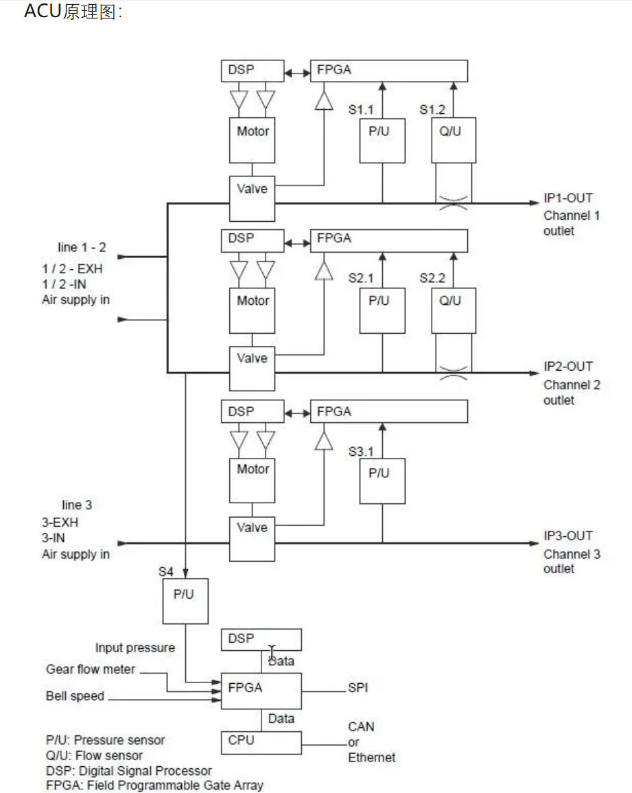
精准调控关键喷涂参数:这是 ACU 的核心作用。它能以毫秒级响应时间调节喷型空气压力和雾化器涡轮速度,还可通过压力、流量传感器采集信号,经智能算法处理后精准控制空气流量与压力。例如 ACU - 01B 可将喷涂压力稳定在设定值的 ±0.1bar 以内,空气流量波动控制在 ±2L/min 范围,以此保证涂料雾化均匀,减少过喷问题。同时它能适配不同工艺,灵活切换扇形、圆形等喷涂模式。
闭环控制与故障预警:ACU 作为 ABB 集成过程系统(IPS)的节点,运行 IPS 软件并结合压力、气流传感器实现闭环气流控制。它会持续监测通往雾化器的气流,及时修正参数偏差;若工艺参数超出设定范围,还能触发报警,方便工作人员及时处理,减少喷涂缺陷和停机损失。
无缝协同与灵活适配:可与 ABB 喷涂机器人控制器顺畅通信,实现喷涂动作与气流调节的同步。而且它能直接替换 S4P、S4P + 等老款喷涂机器人的 MAC 套件 PPRU 单元,适配 IRB 5500、IRB 5400 等多款主流喷涂机器人,适配性覆盖新旧系统。
显著结构特点
小巧便携易安装:采用轻量化、紧凑型设计,可直接安装在喷涂机器人的上臂上,相比安装在喷房外气动柜内的 PPRU 单元,能缩短气流传输路径,提升调节及时性。这种紧凑结构也让它能轻松融入新的生产线或对现有系统进行升级改造。
即插即用易操作:出厂自带预校准设置,属于模块化的即插即用设备,无需复杂调试就能投入使用。同时支持工作人员根据具体喷涂需求进行参数微调和功能定制,操作门槛低,后续维护时更换也无需额外校准,能减少停机时间。
核心应用优势
节省成本:一方面其工作仅需 6 巴气压,相比传统设备的 8 巴气压要求大幅降低能耗;另一方面精准的气流控制减少了过喷和涂料浪费,还能降低喷房清洁及油漆废料处理成本,长期使用可显著减少综合投入。
提升生产效率:毫秒级的响应速度让机器人无需等待喷型、涂料量参数达标就能继续作业,换产时调用预设参数即可快速切换,减少了生产等待时间。且它可靠性强,所需维护工作少,能减少生产线停机频次,间接提升产量。
保障喷涂品质稳定:稳定的气流和雾化效果,能让同一工件即便调整喷涂模式和涂料量,也能获得一致的液滴大小和漆面效果,有效避免色差、流挂等缺陷,尤其适配汽车制造等对喷涂质量要求高的批量生产场景。








